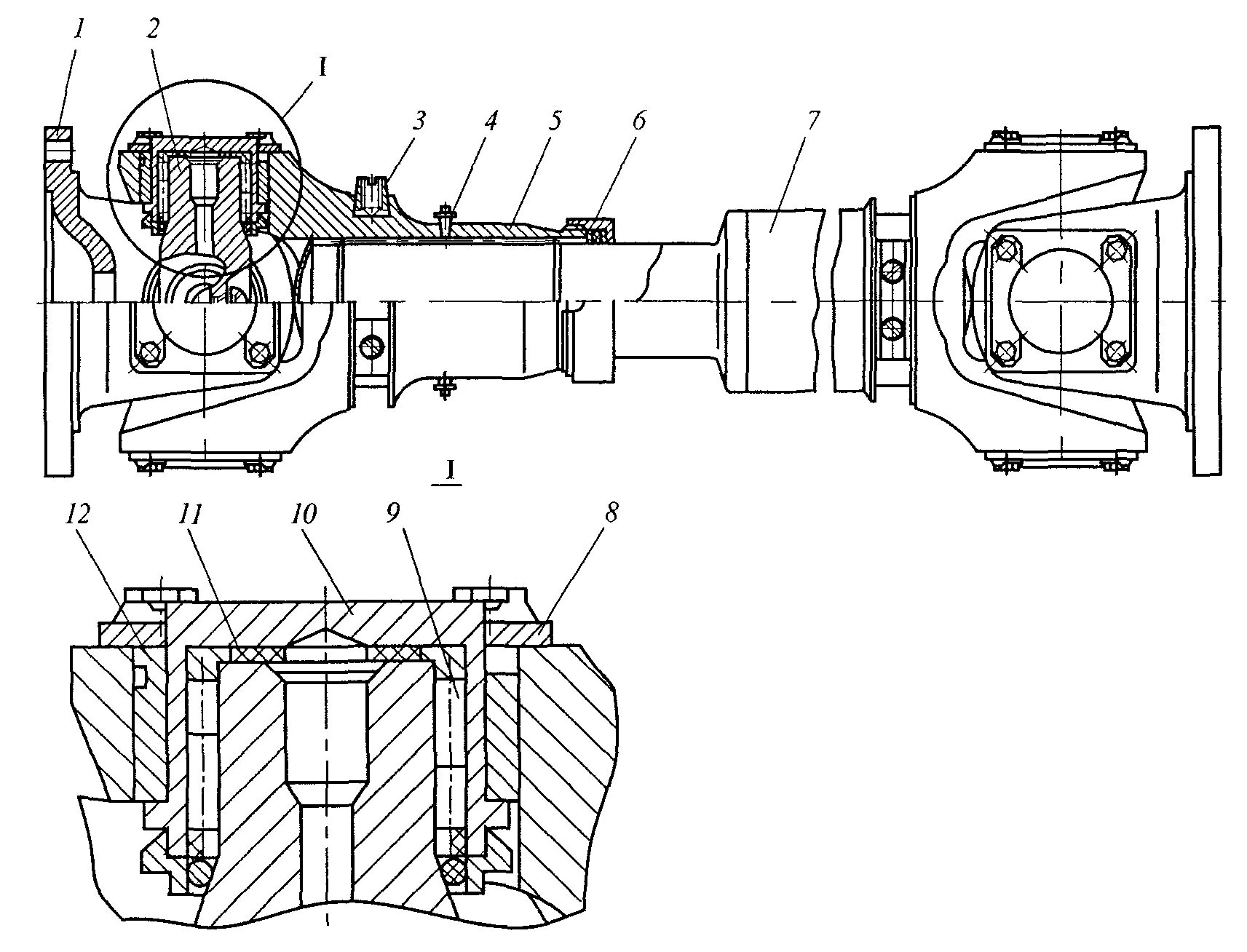
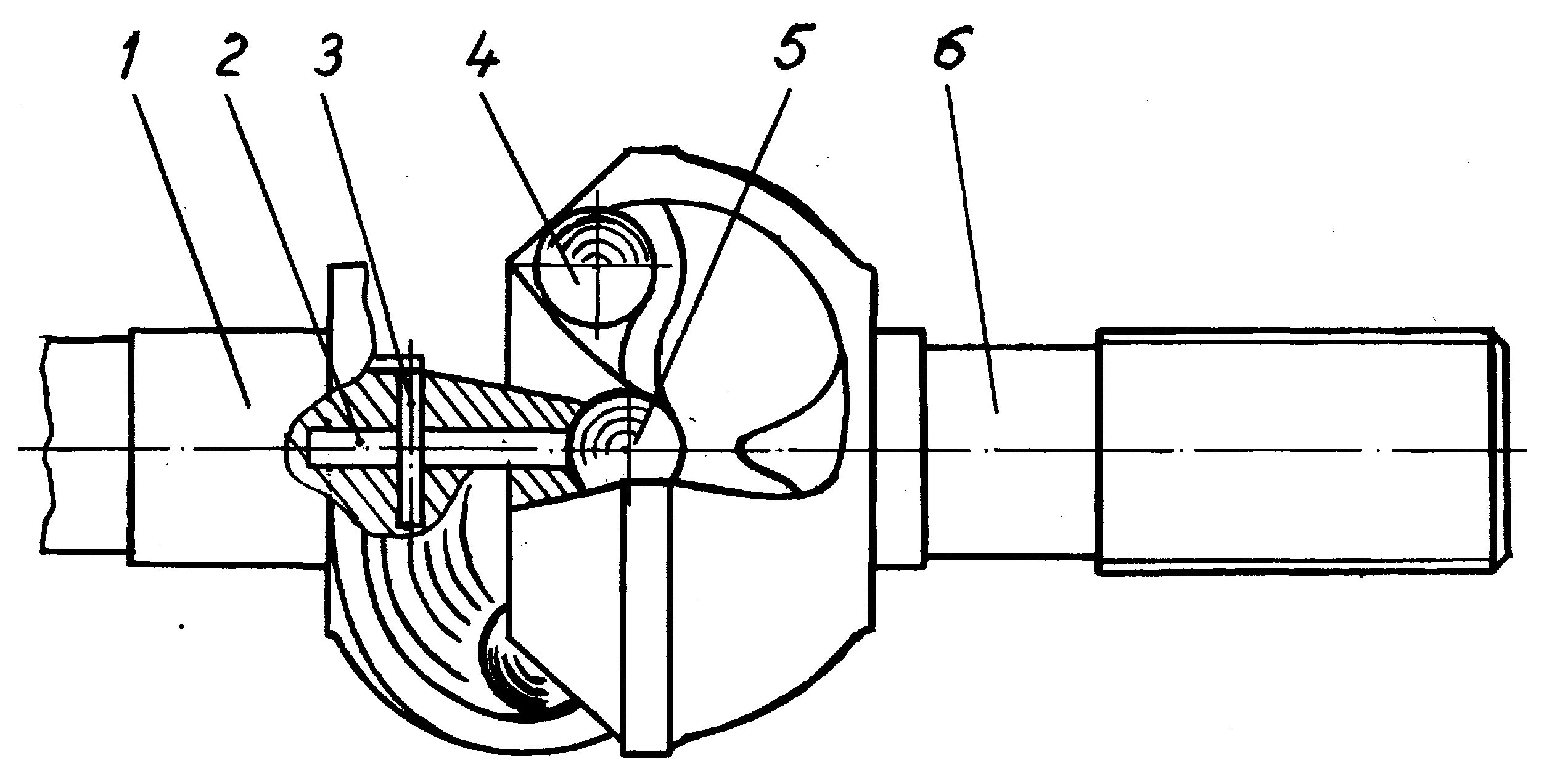
Карданные шарниры неравных угловых скоростей