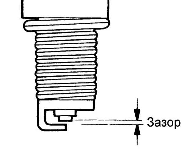
Какой зазор на инжектор