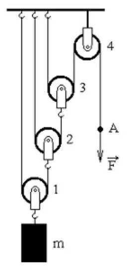
Какой блок изображен на рисунке 2