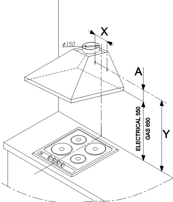
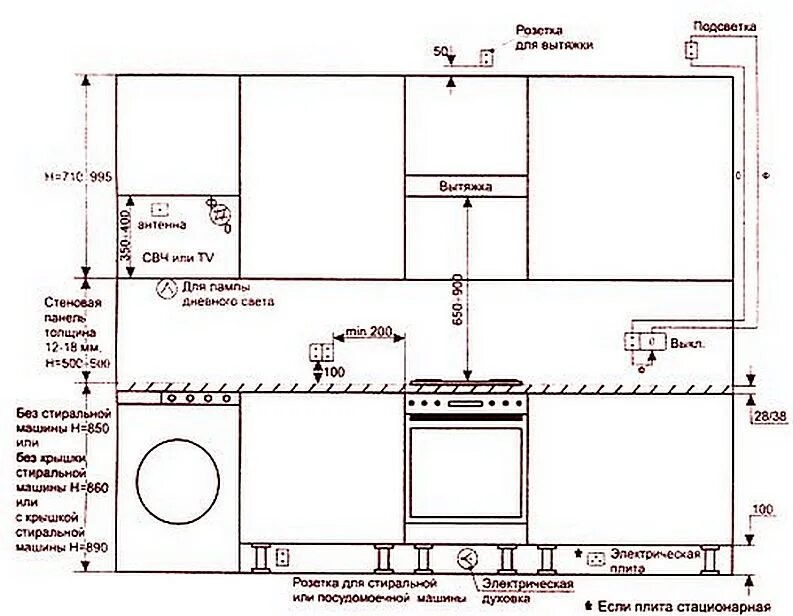
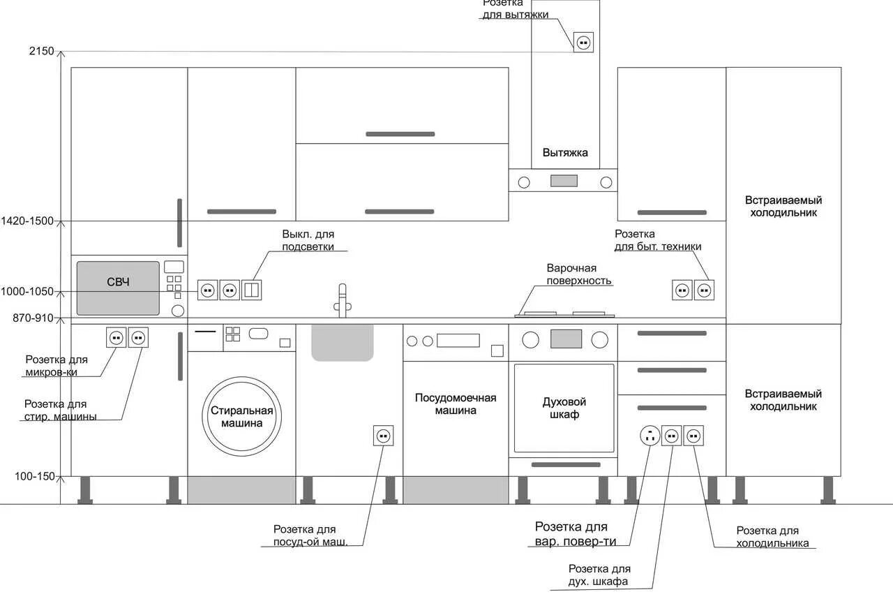
Какое расстояние плиты от плиты