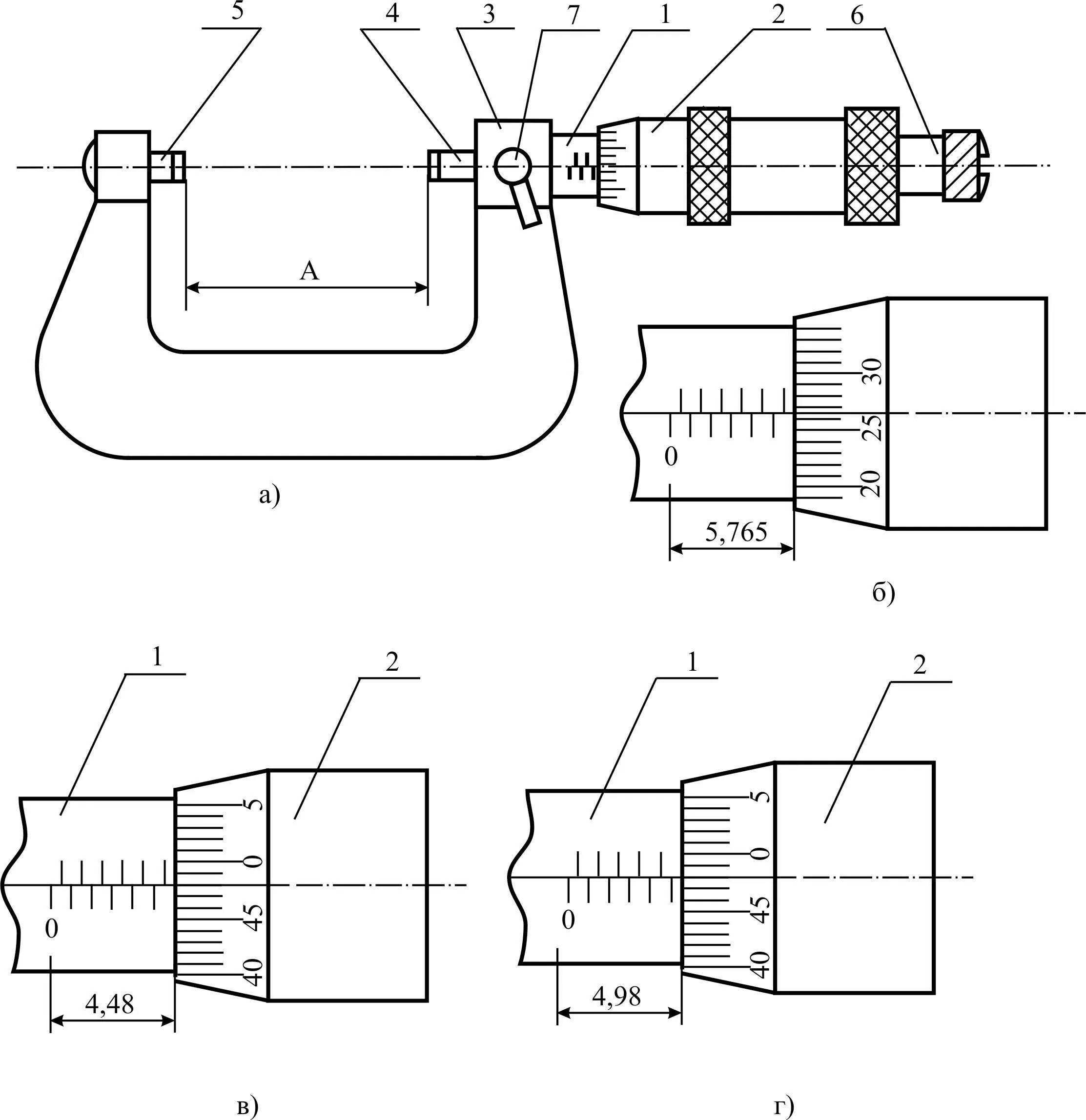
Какими инструментами контролируют размеры