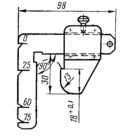
Каким шаблоном контролируется