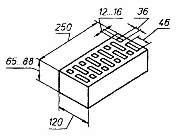
Какие размеры имеет кирпич