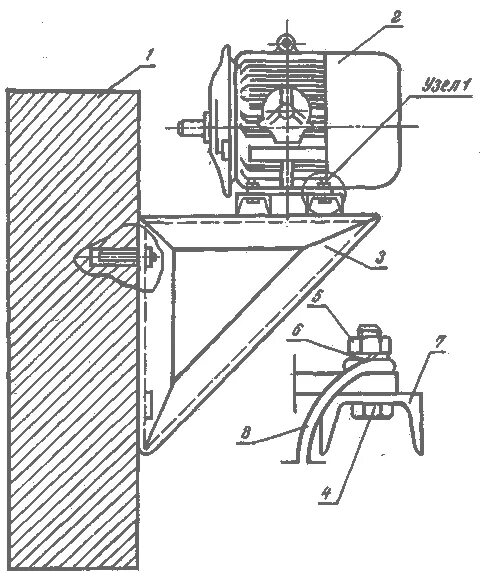
Как закрепить электродвигатель