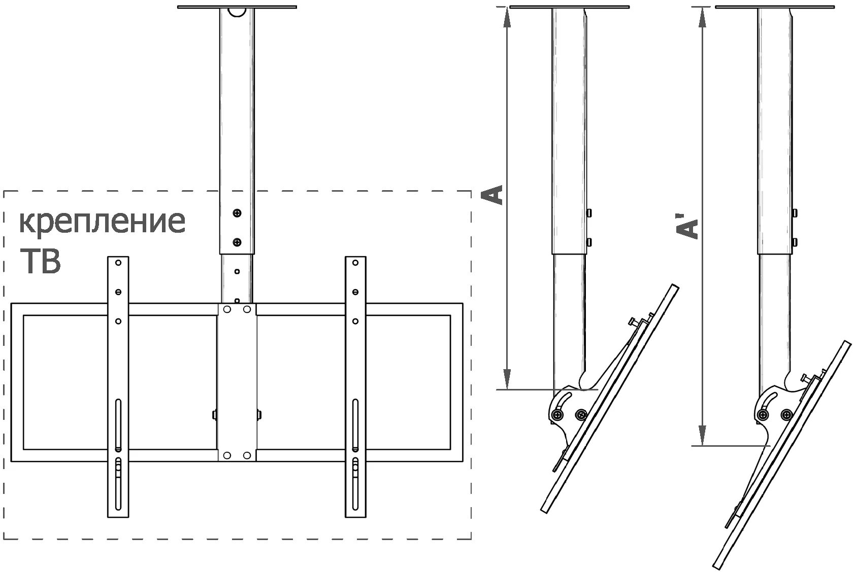
Как устроено крепление