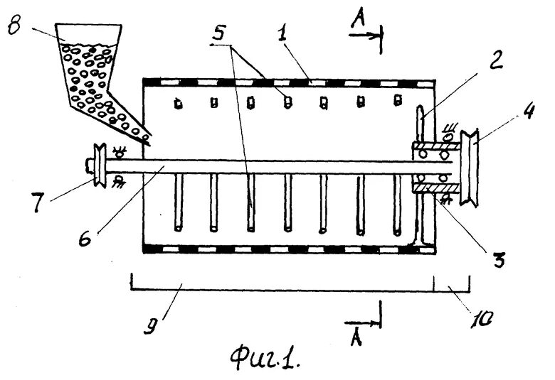
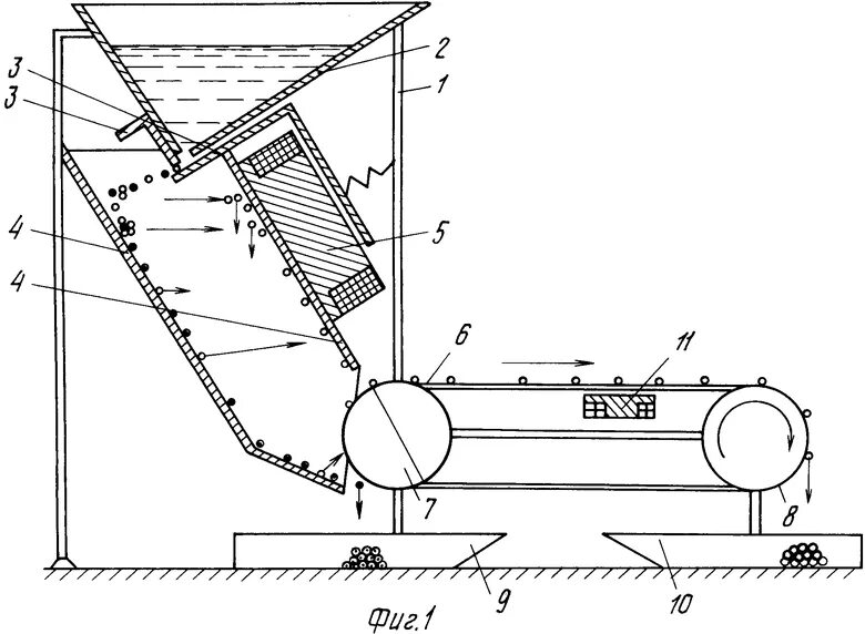
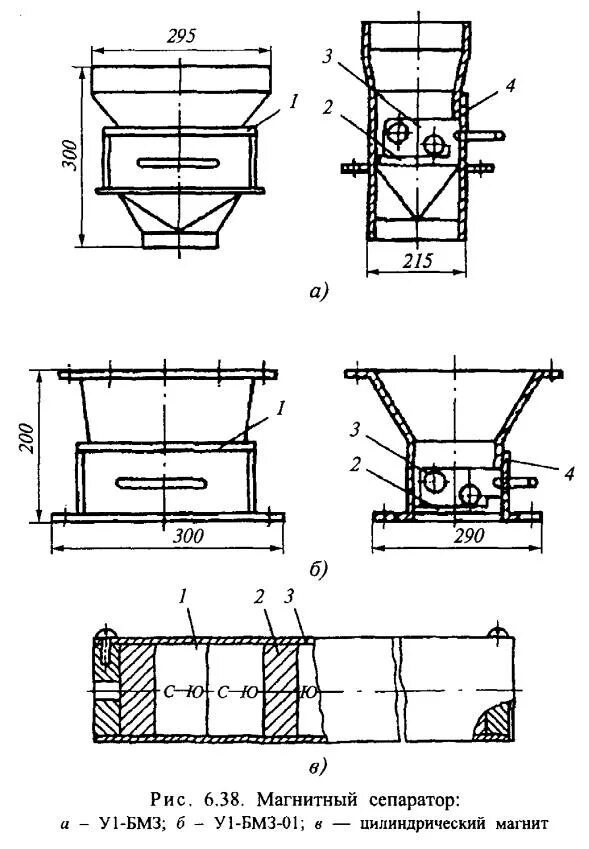
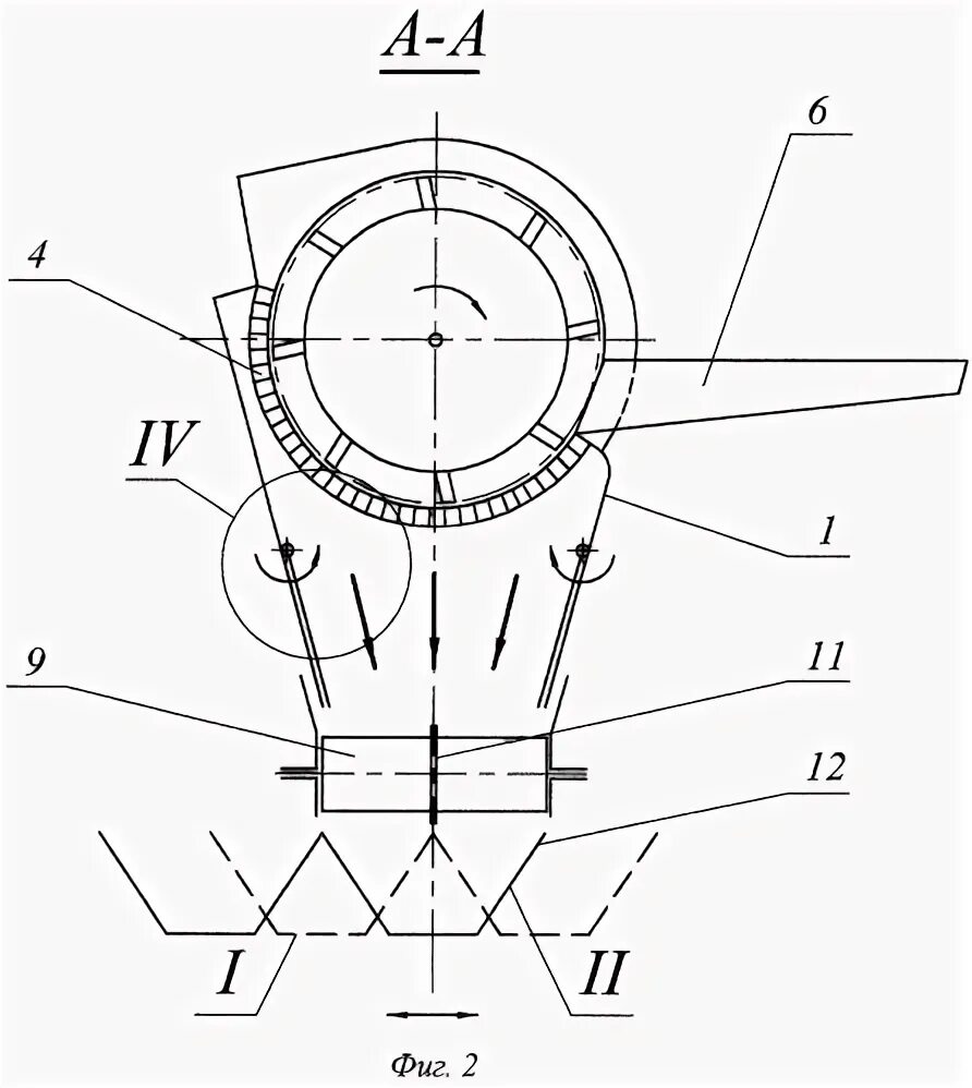
Как устроен сепаратор для зерна