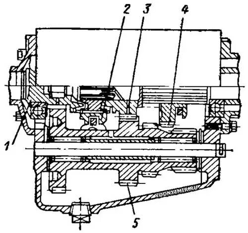
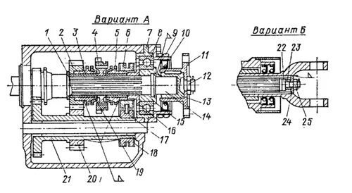
Как устроен реверс