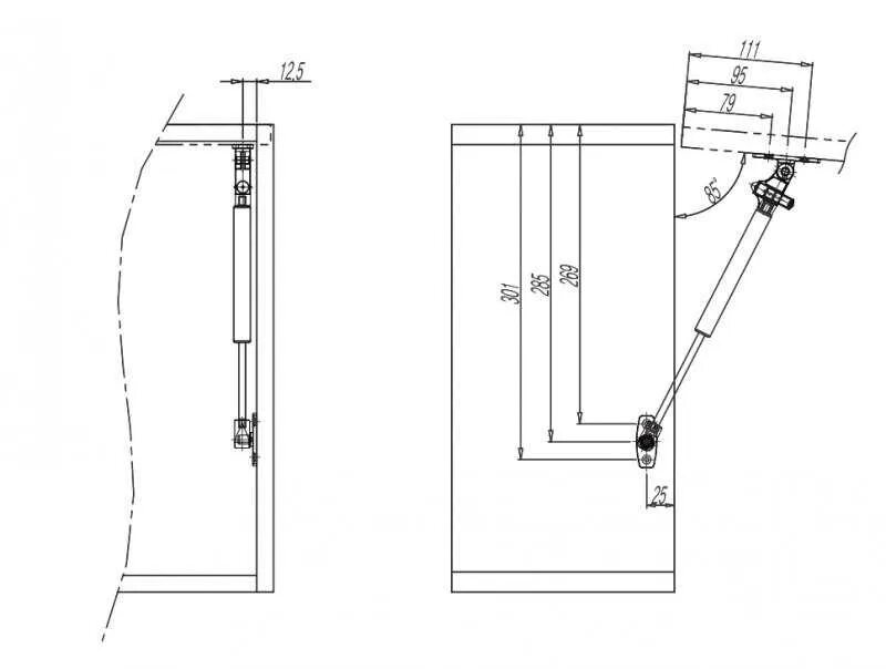
Как установить на дверцы шкаф газовый