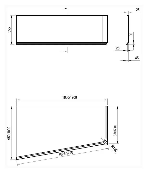
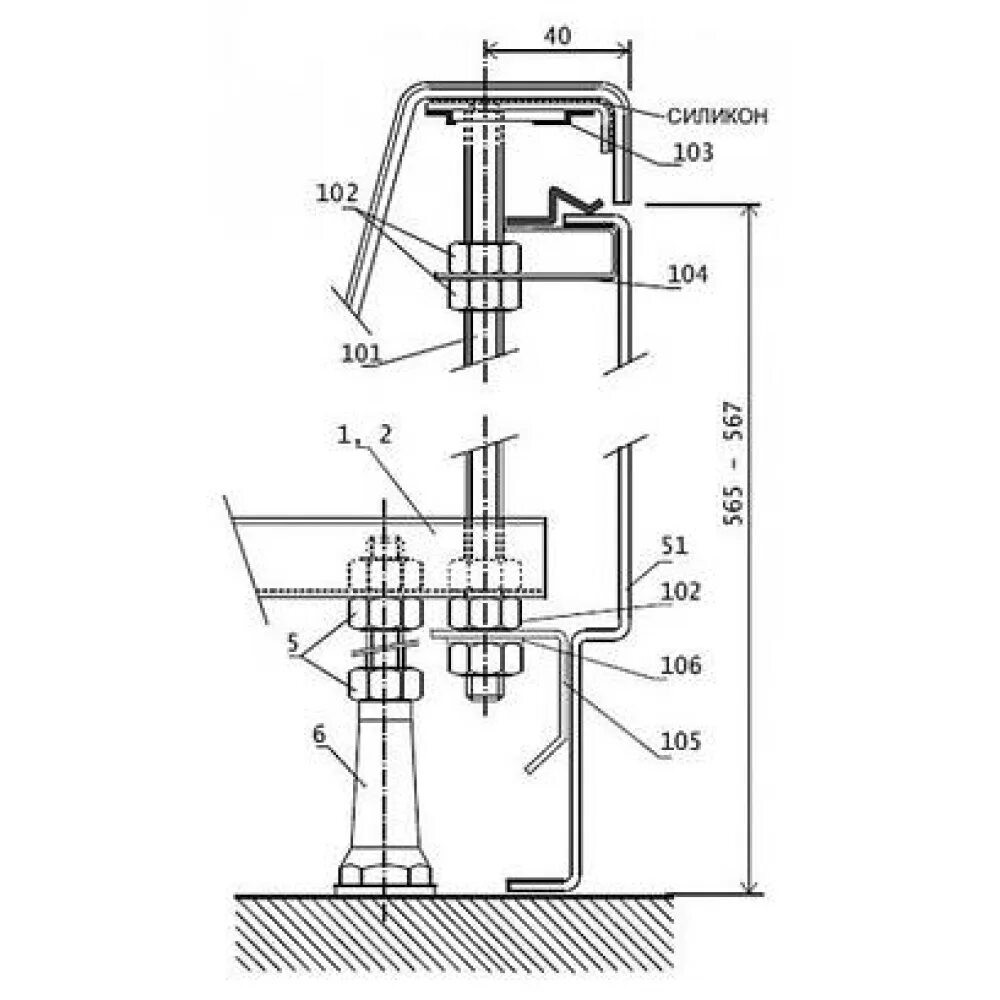
Как установить фронтальную панель