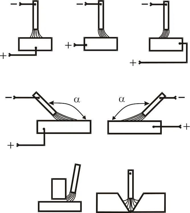
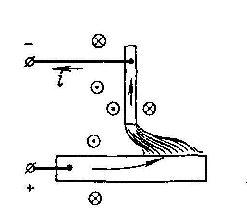
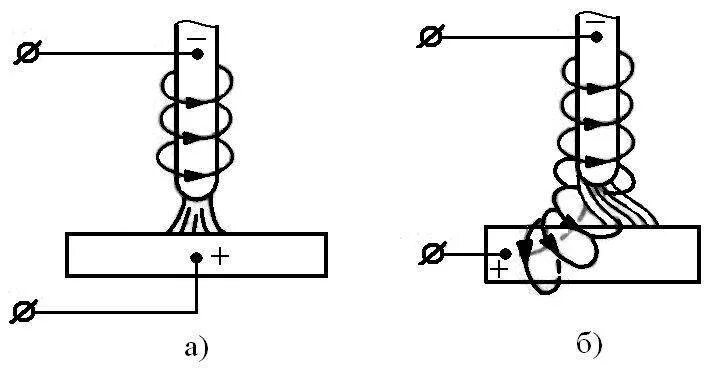
Как уменьшить влияние магнитного дутья