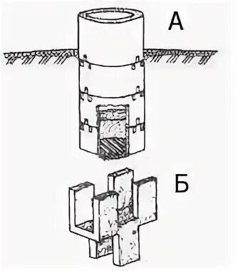
Как соединить кольца между собой