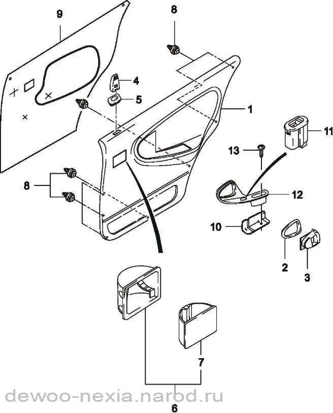
Как снять двери на нексии