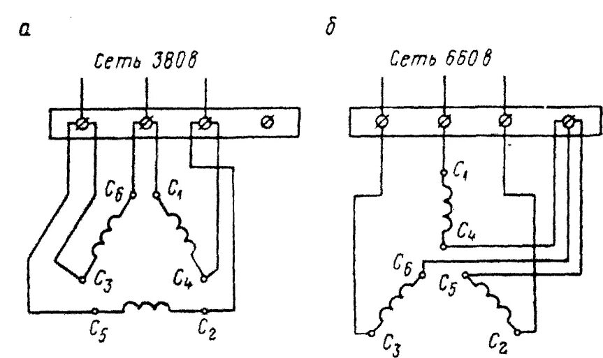
Как следует соединить обмотки двигателя