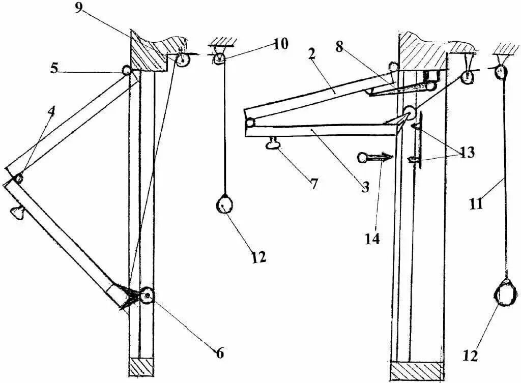
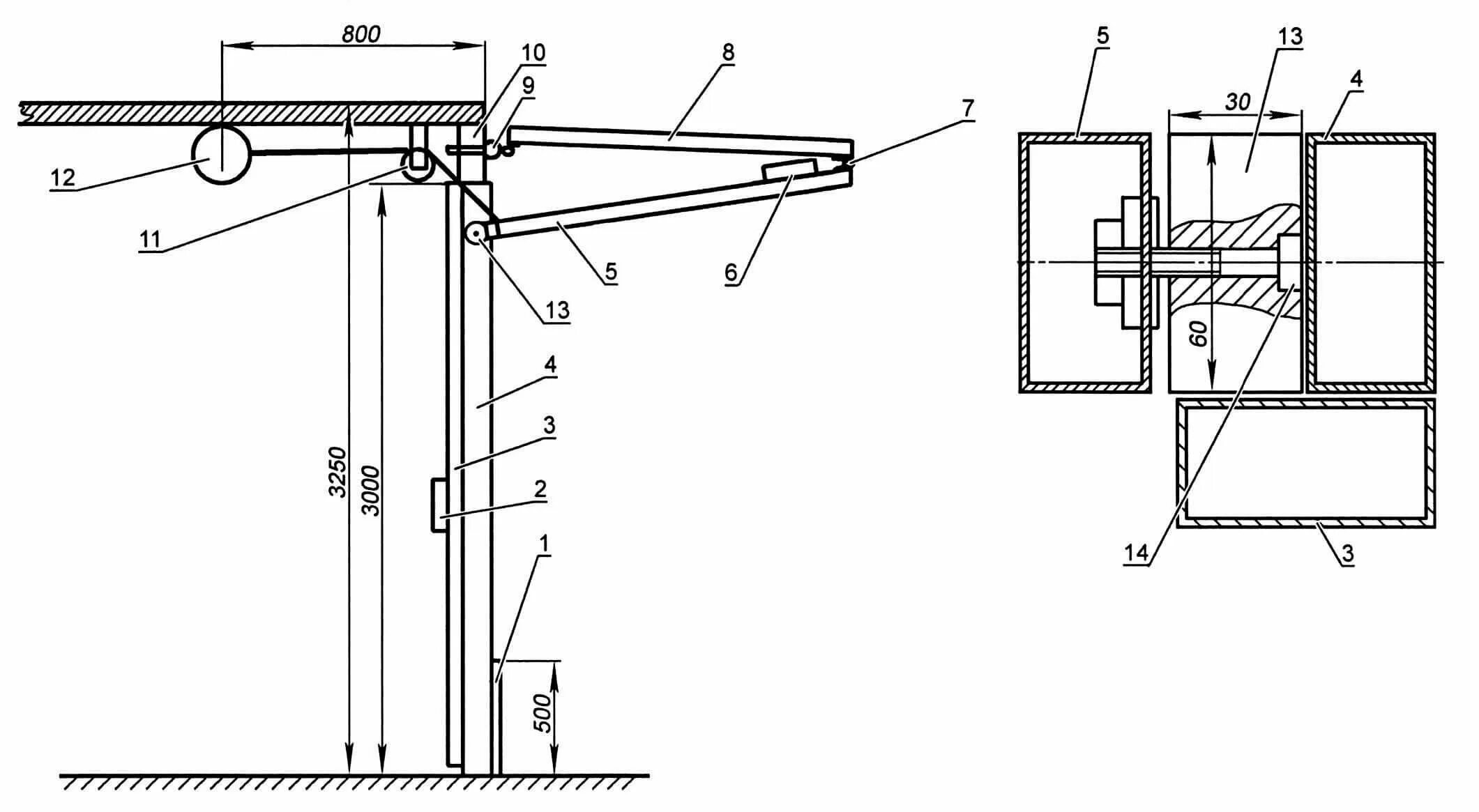
Как сделать подъемные ворота в гараж