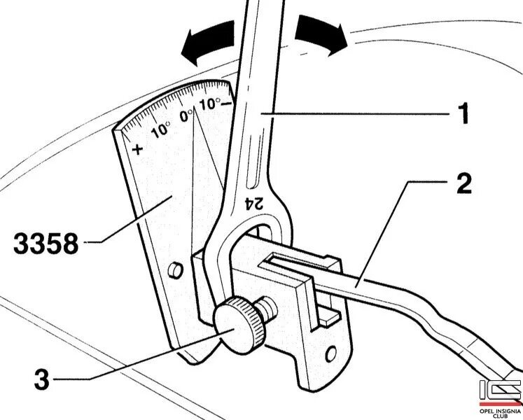
Как регулировать угол