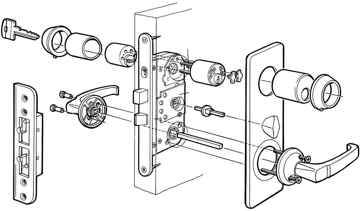
Как разобрать замок входной двери с ручкой