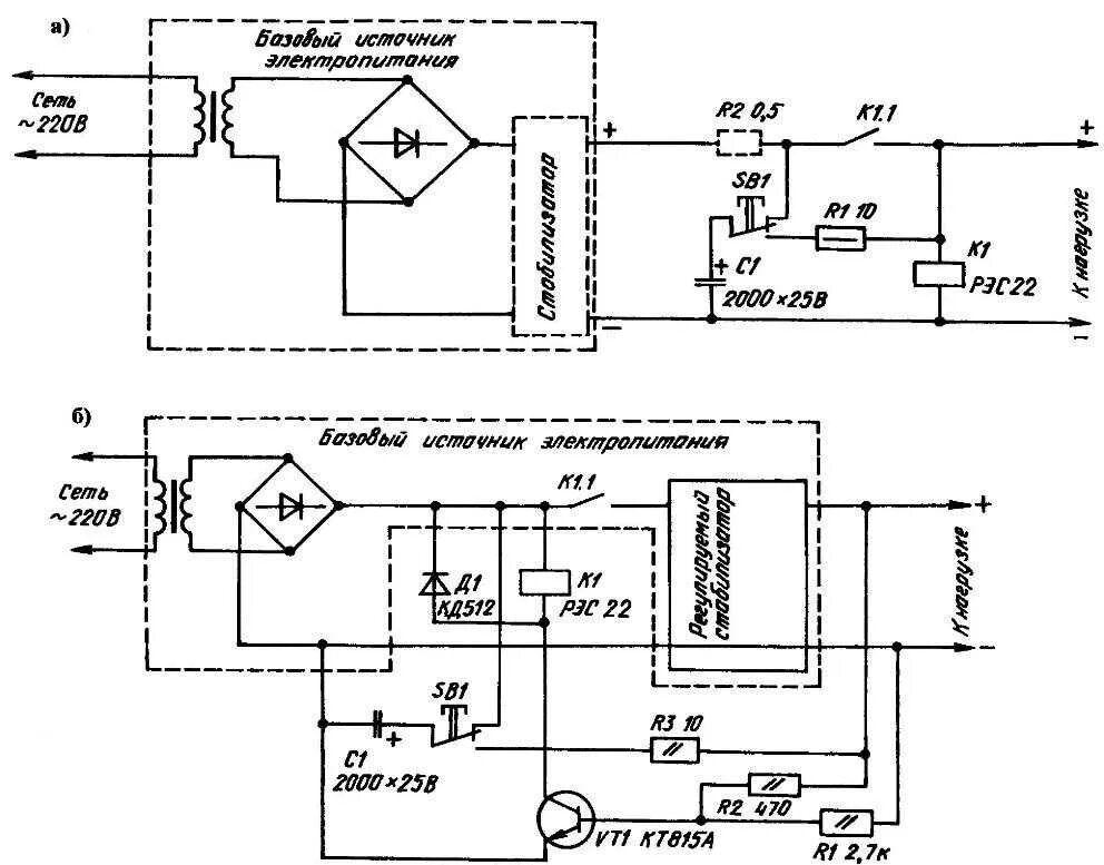
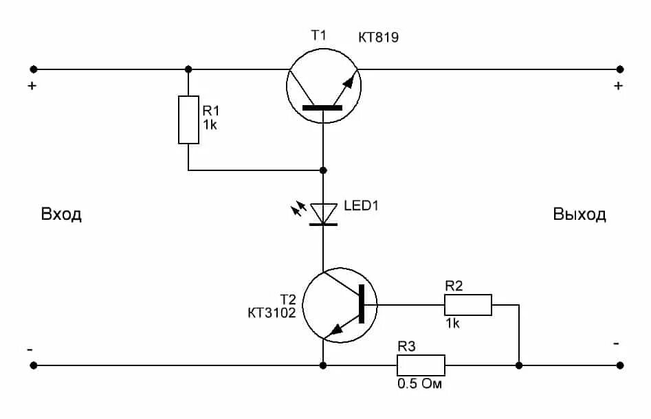
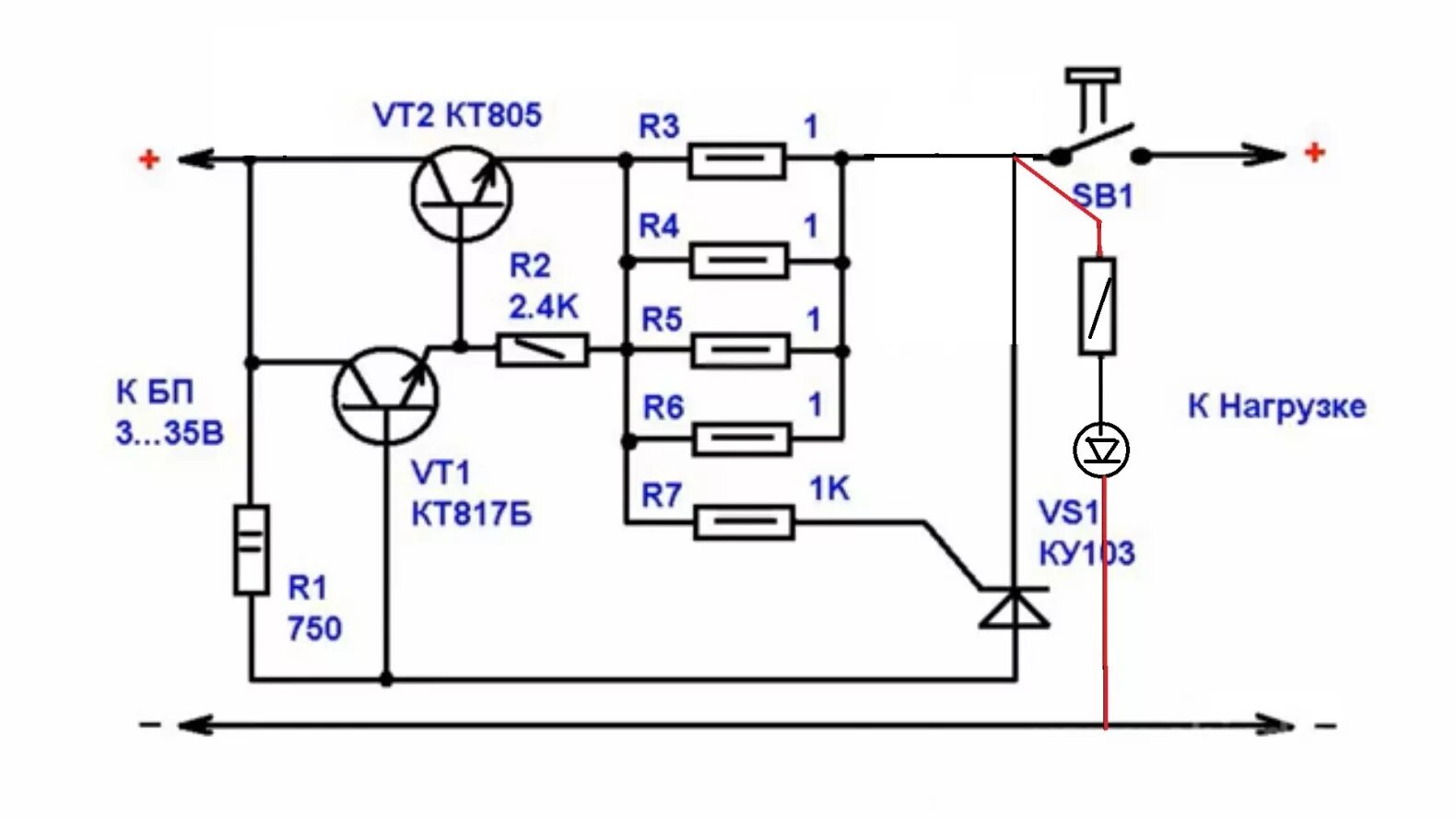
Как работает защита от короткого замыкания