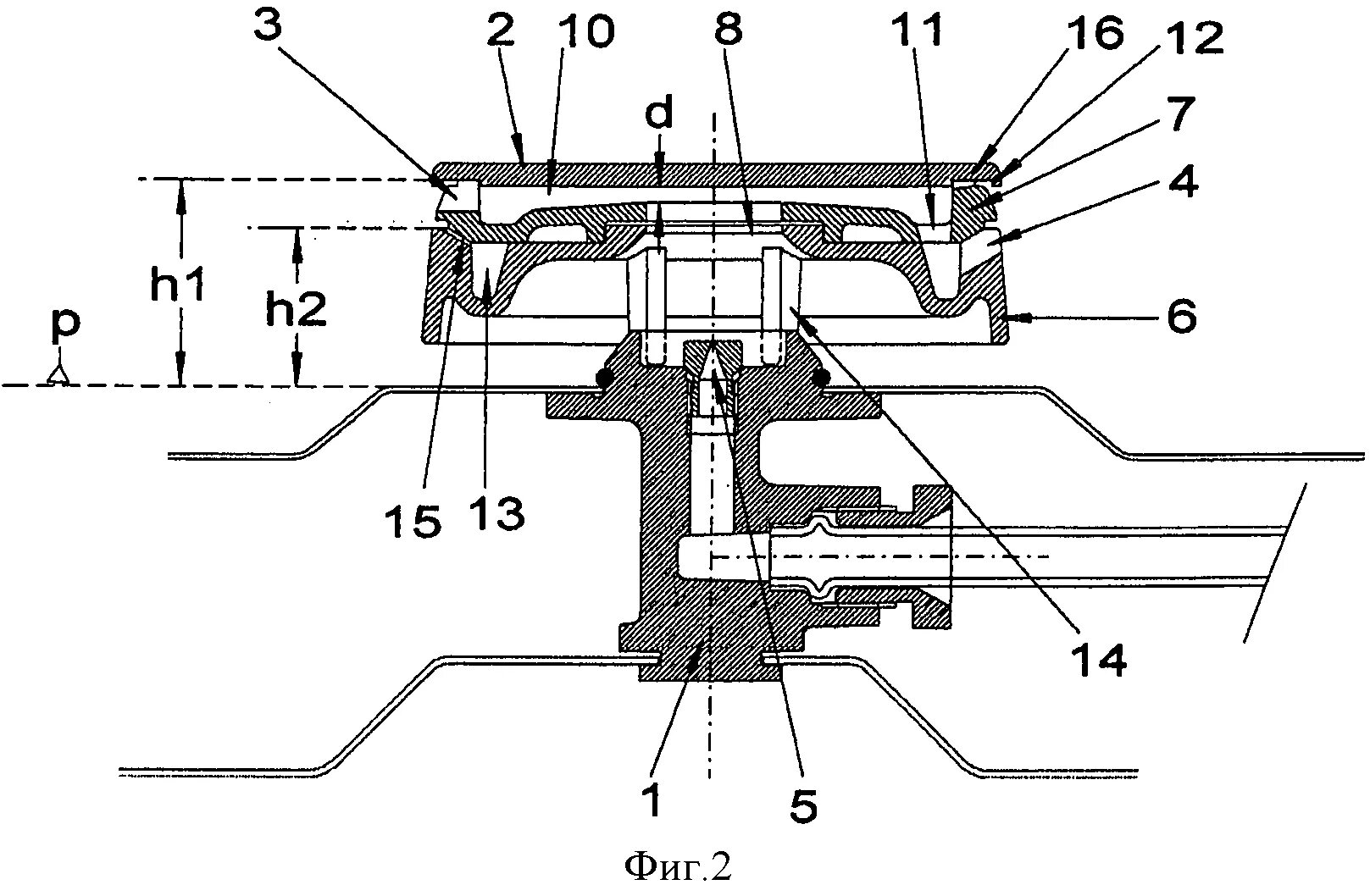
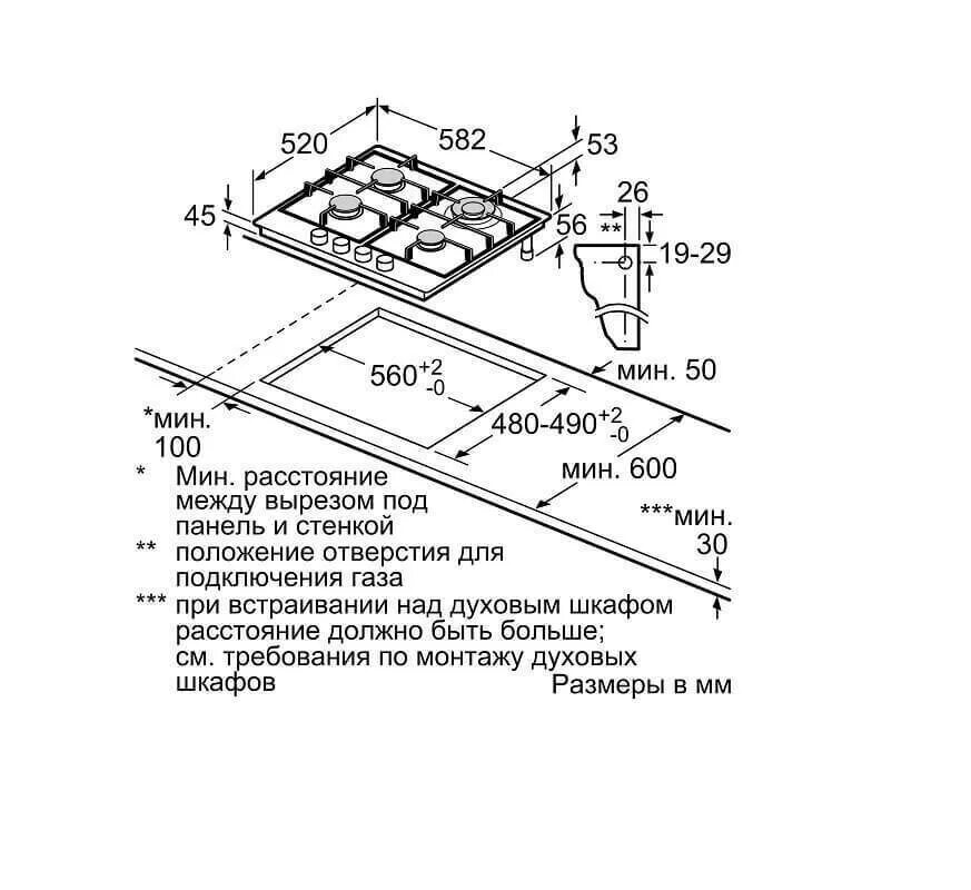
Как работает варочная