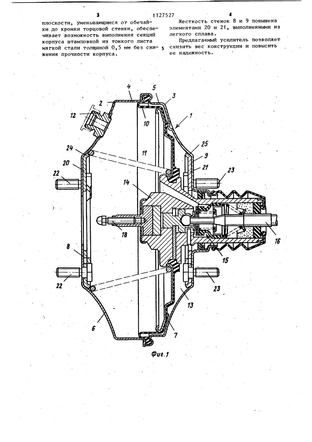
Как работает вакуумный