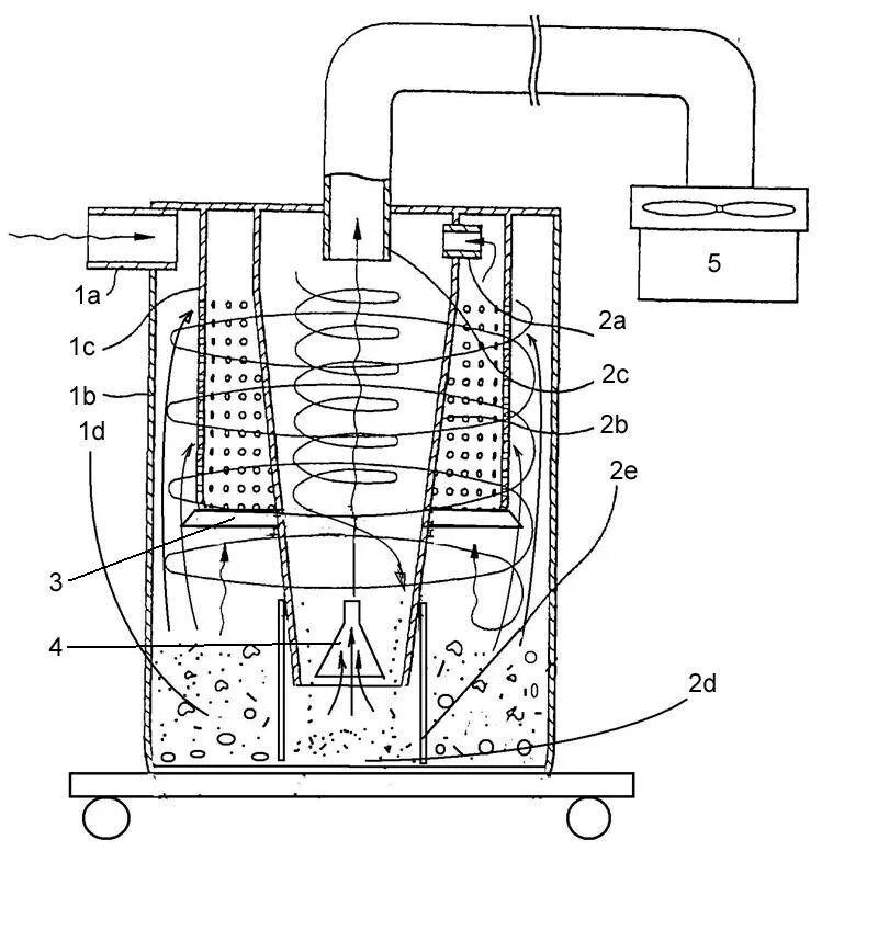
Как работает строительный пылесос