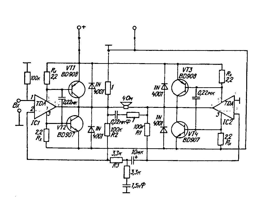
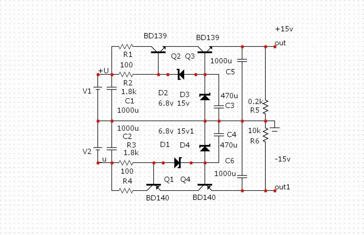
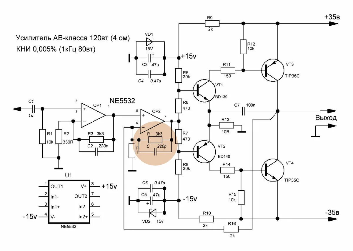
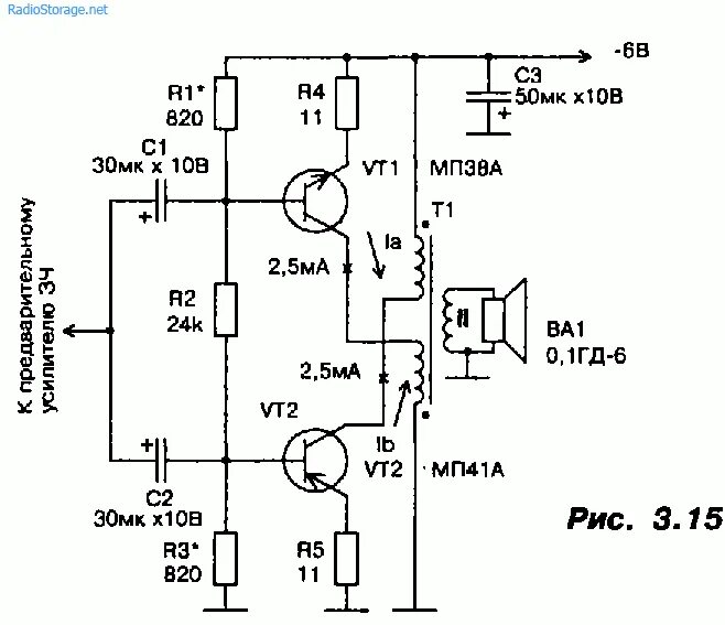
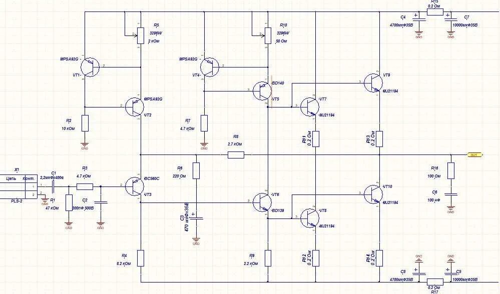
Как работает схема усилителя