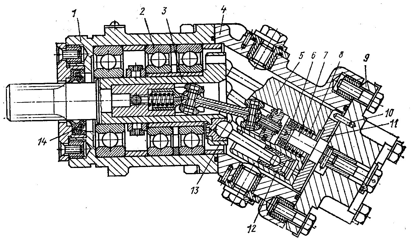
Как работает гидромотор