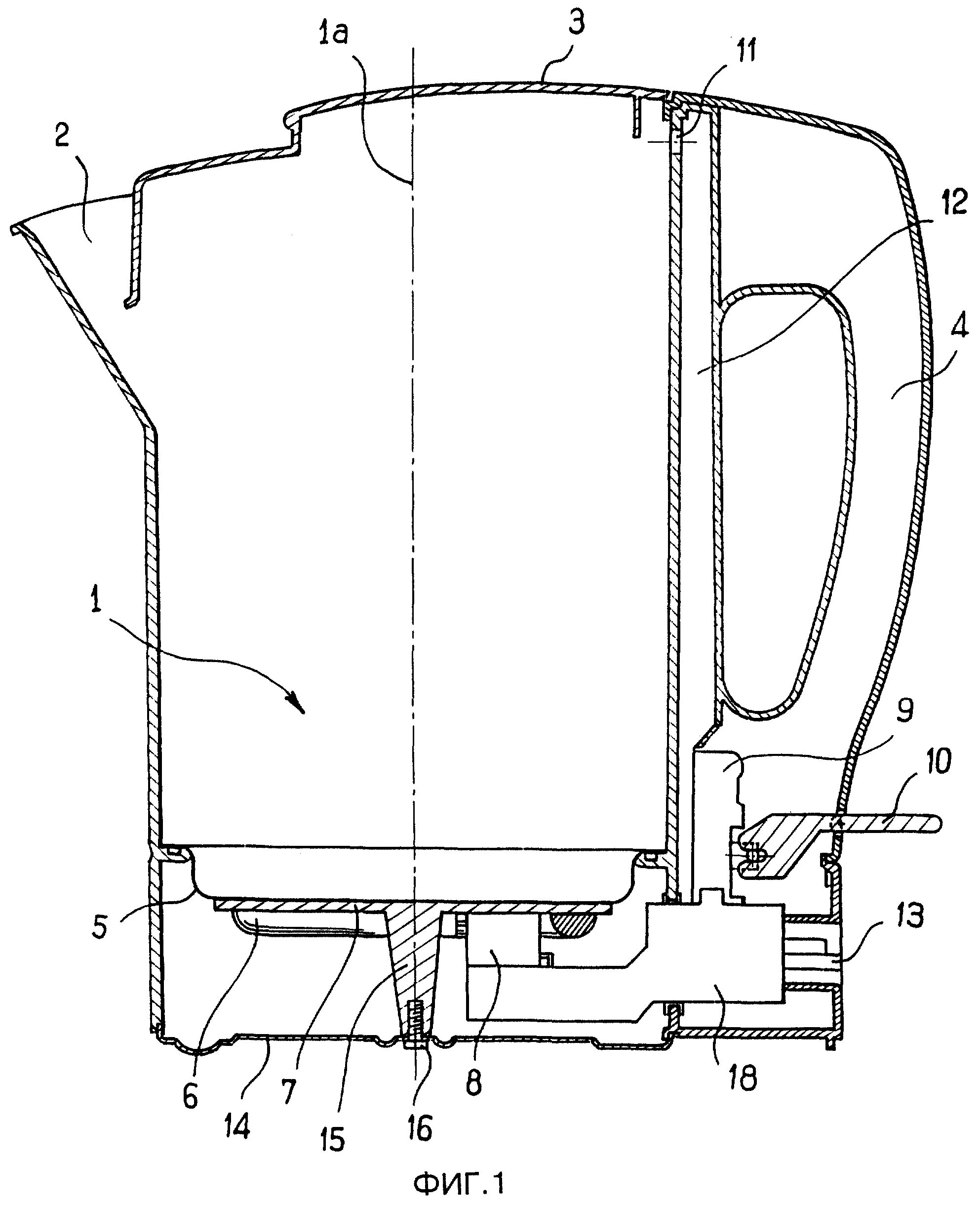
Как работает чайник