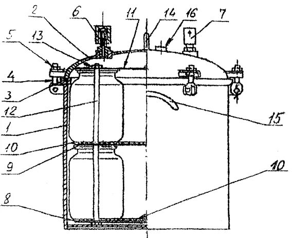
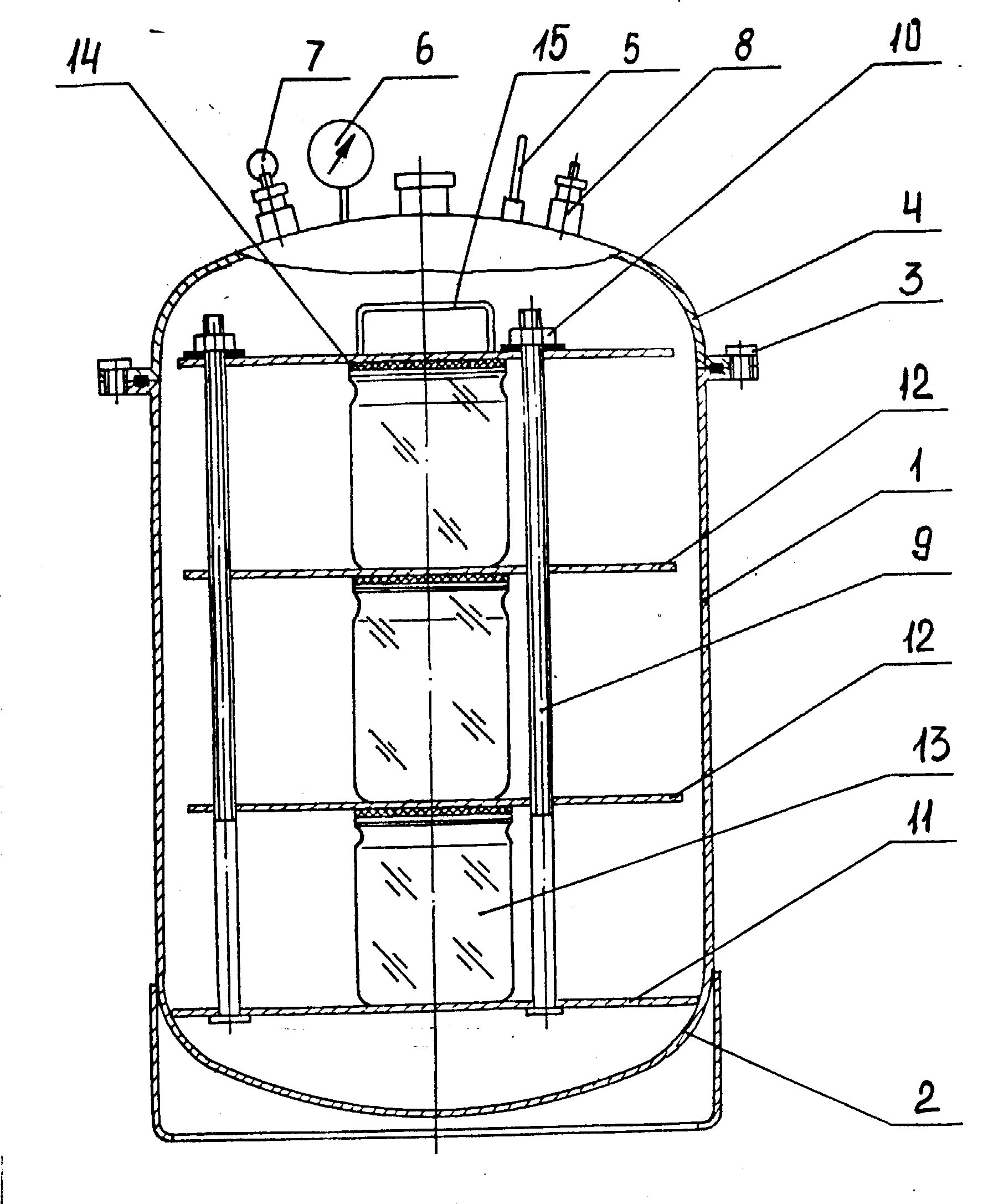
Как работает автоклав