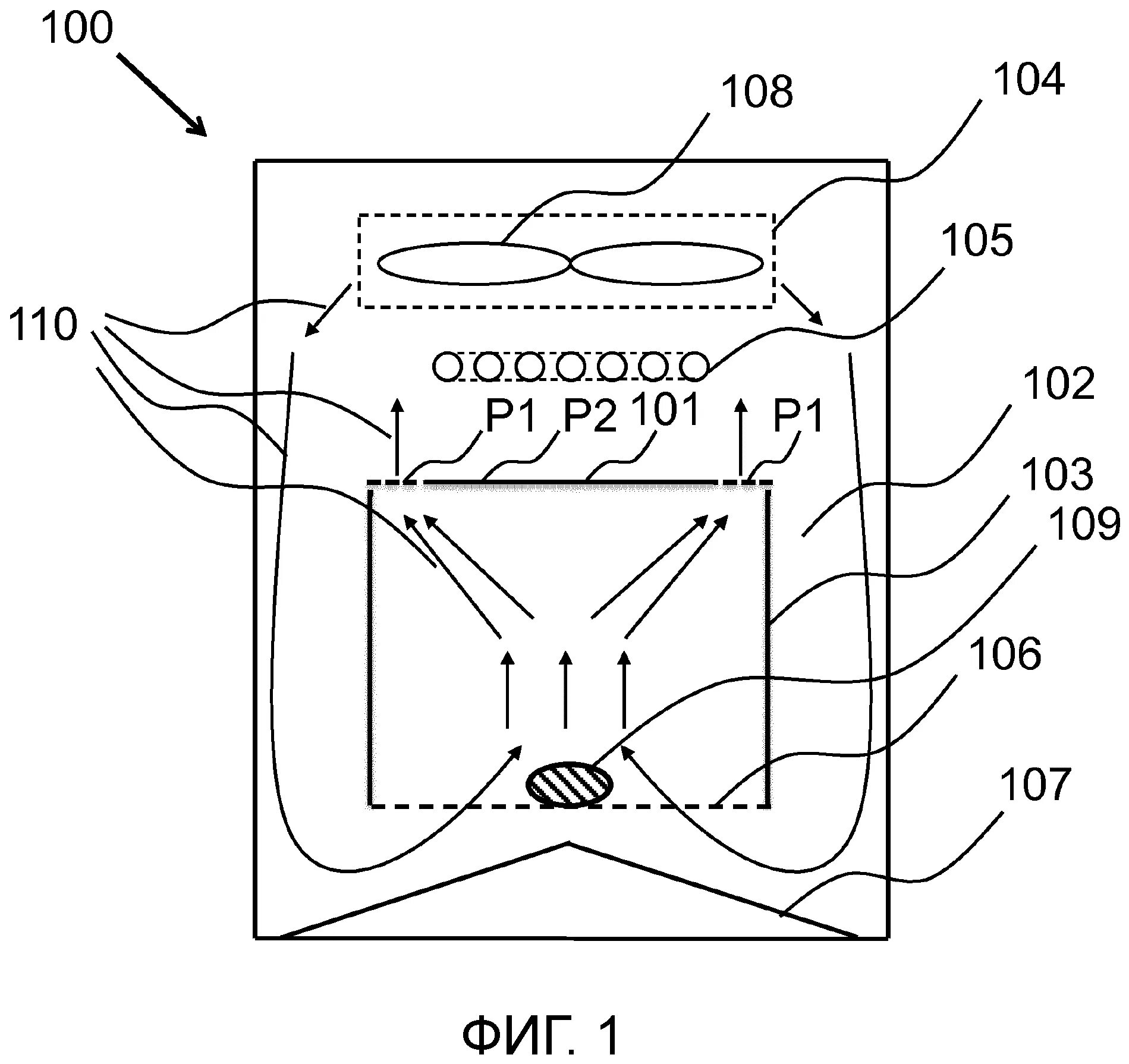
Как работает аэрогриль принцип работы