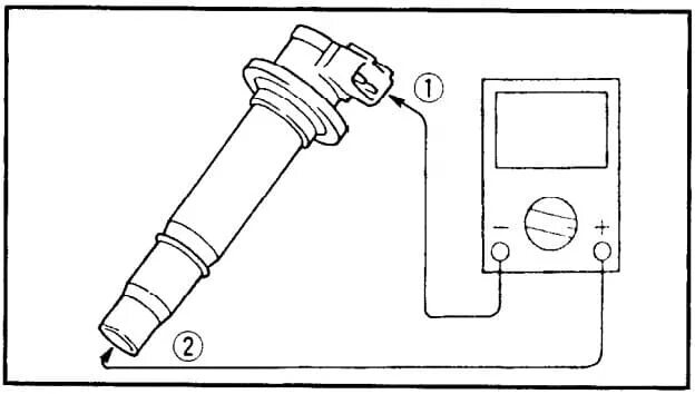
Как проверить снятую катушку зажигания