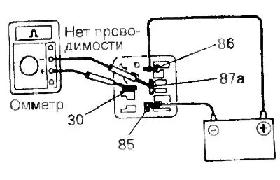
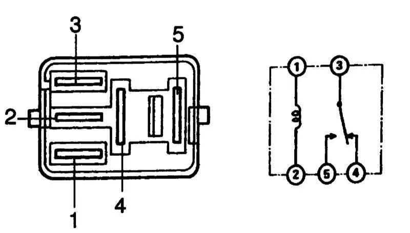
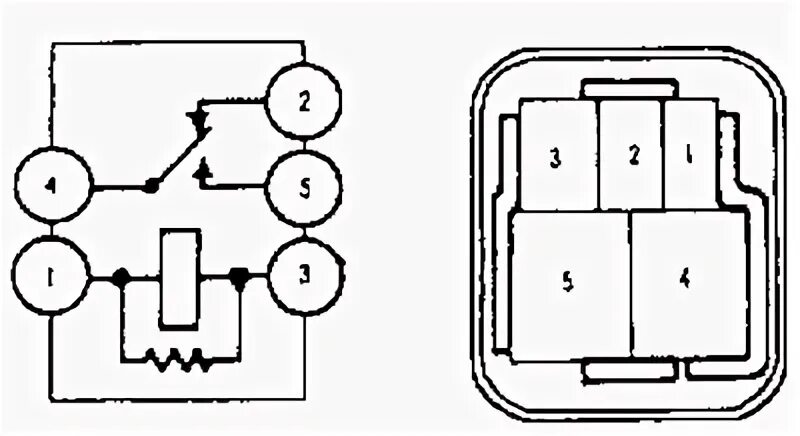
Как проверить реле печки