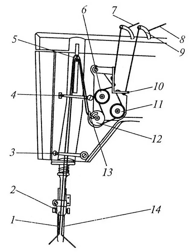
Как правильно заправить ручную машинку