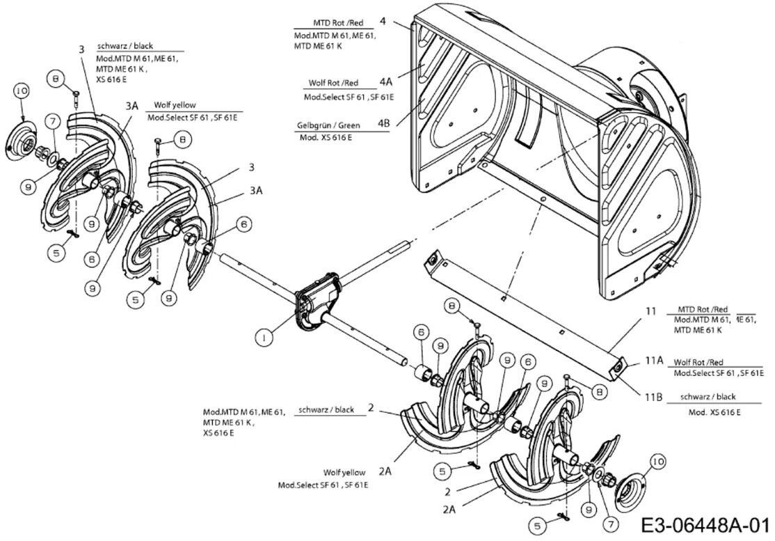
Как правильно установить шнеки на снегоуборщик