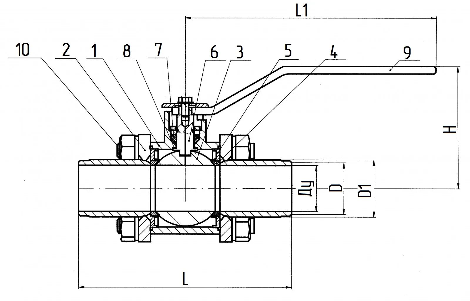
Как правильно устанавливать шаровые краны