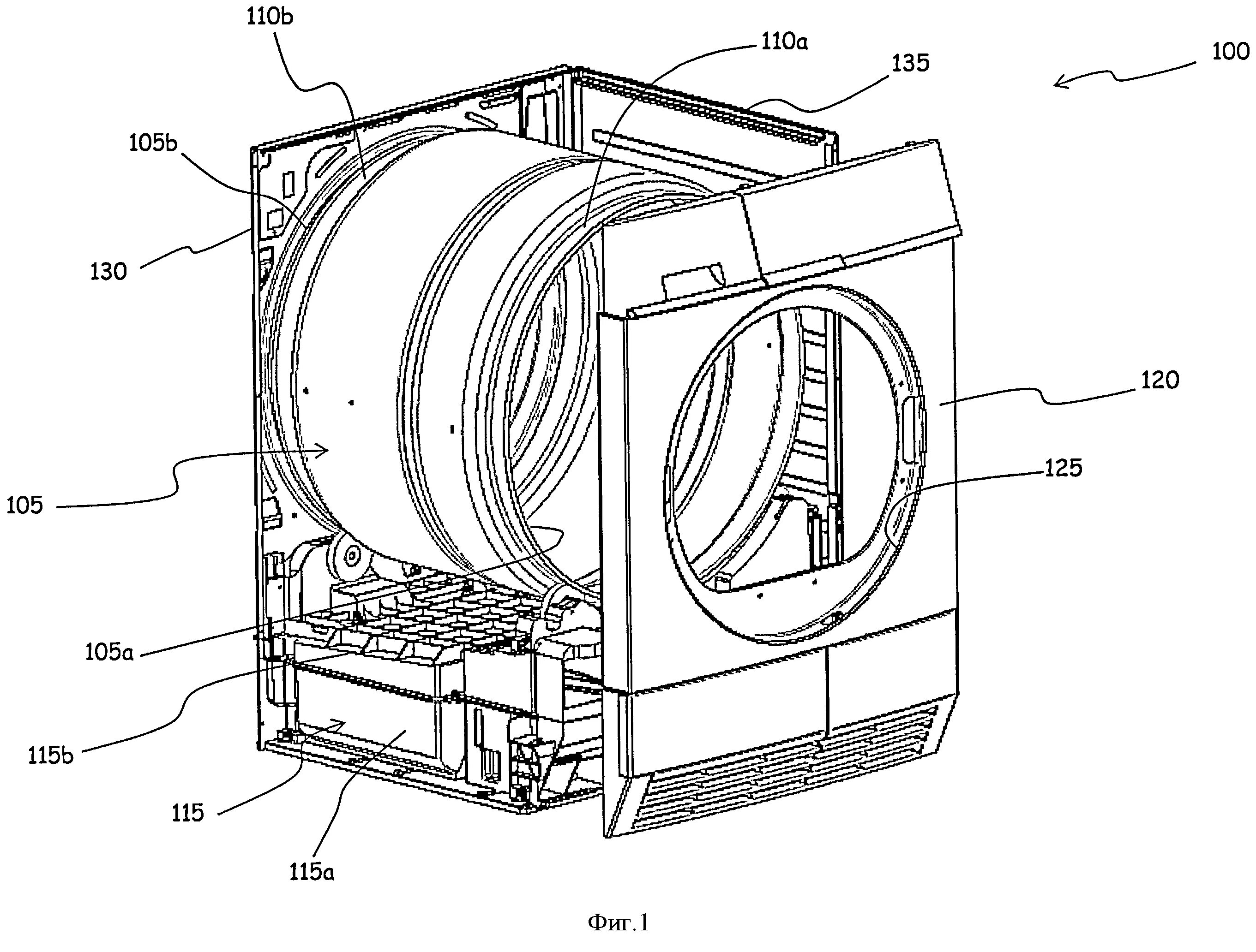
Как пользоваться сушильной машиной