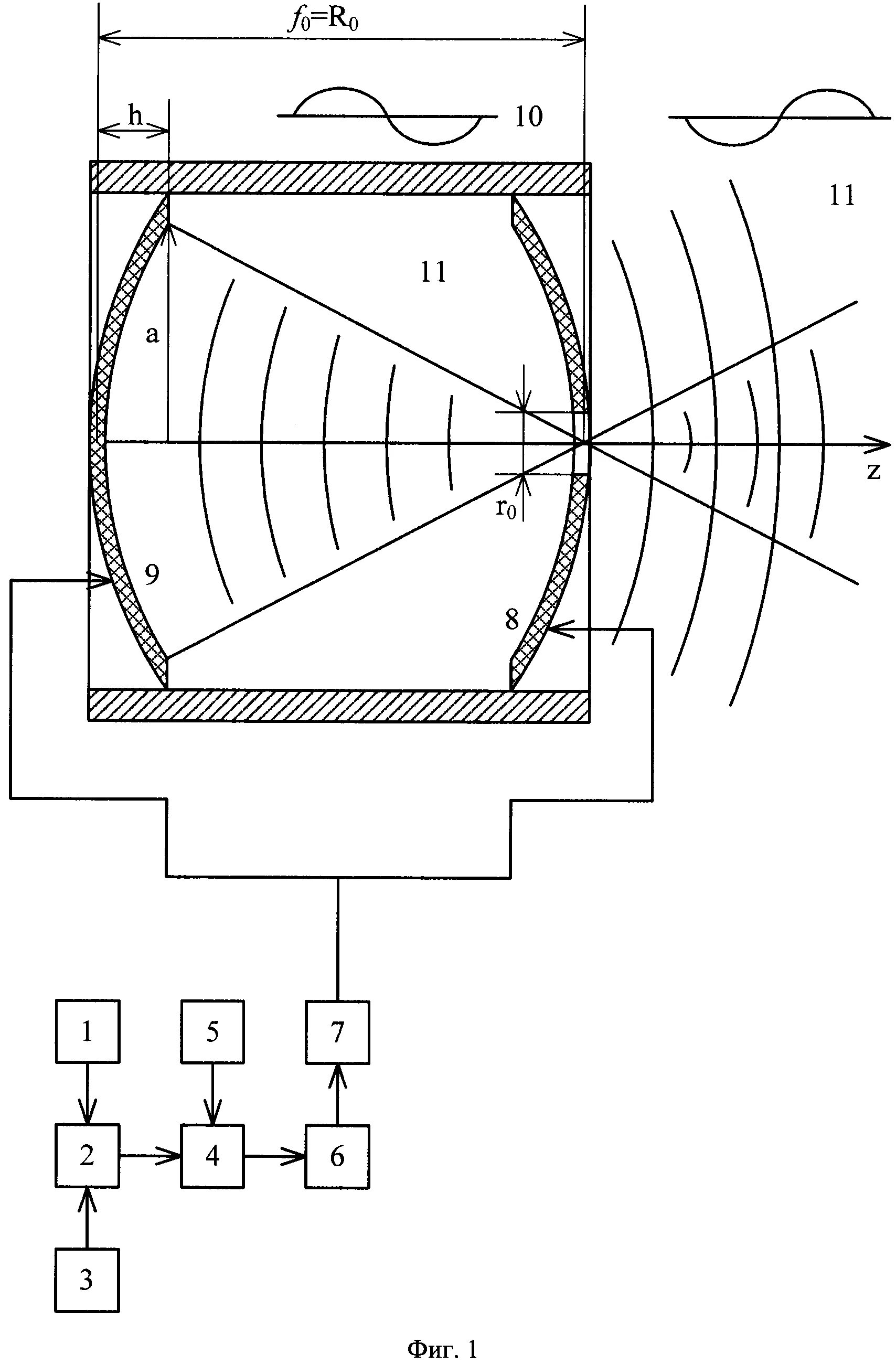
Как получить параметрический преобразователь