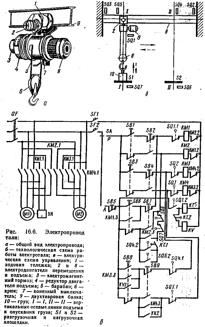
Как подключить таль