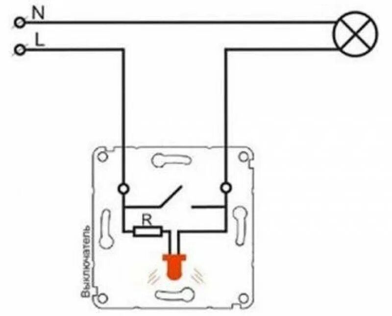
Как подключить одноклавишный выключатель с подсветкой