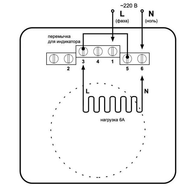
Как подключить датчик температуры теплого пола