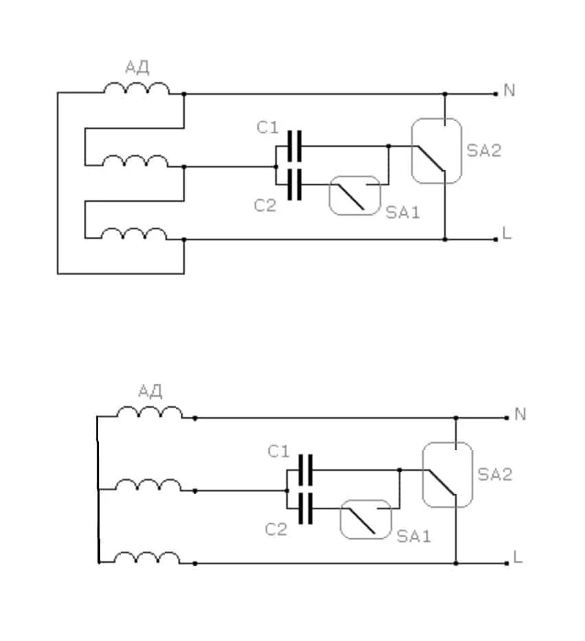
Как подключить через конденсатор