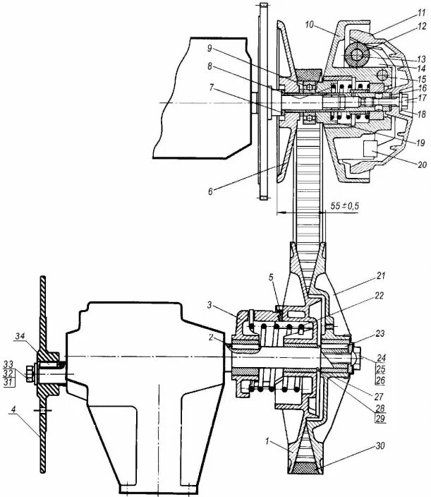
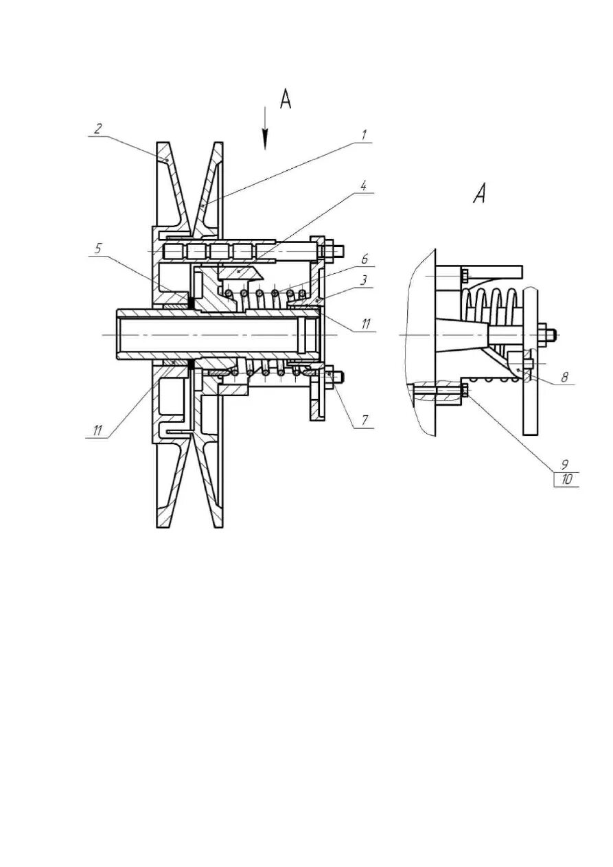
Как отрегулировать вариатор на буране