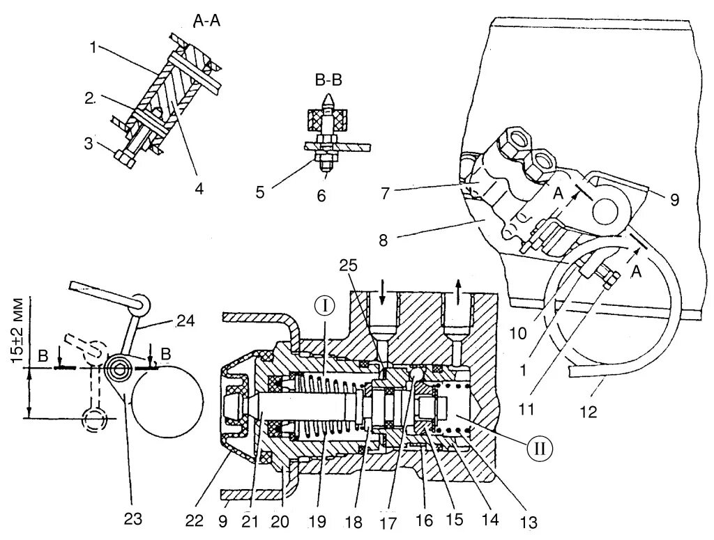
Как отрегулировать тормозной регулятор