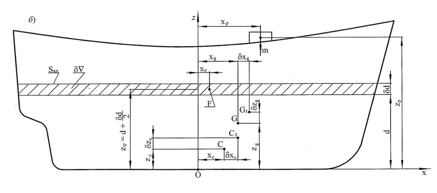
Как определить осадку судна