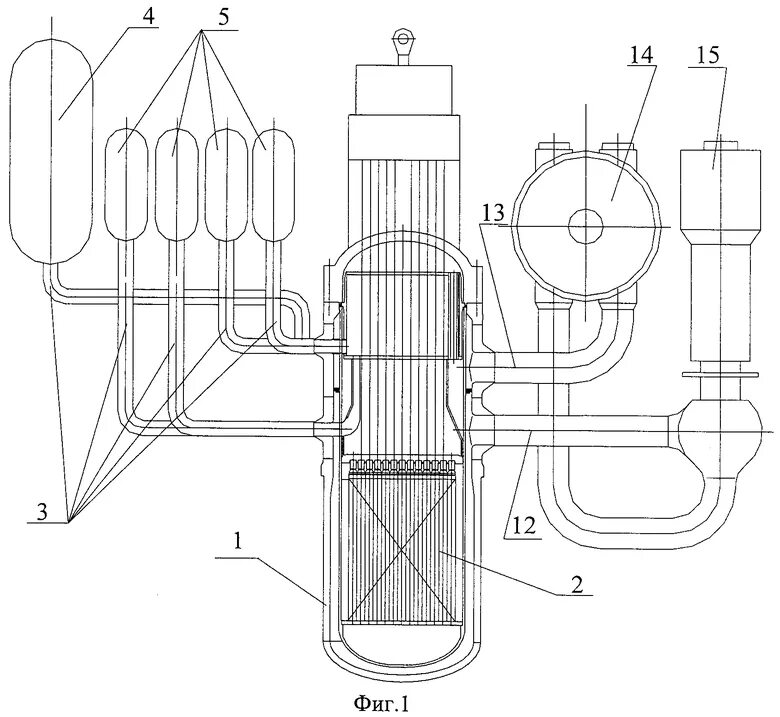
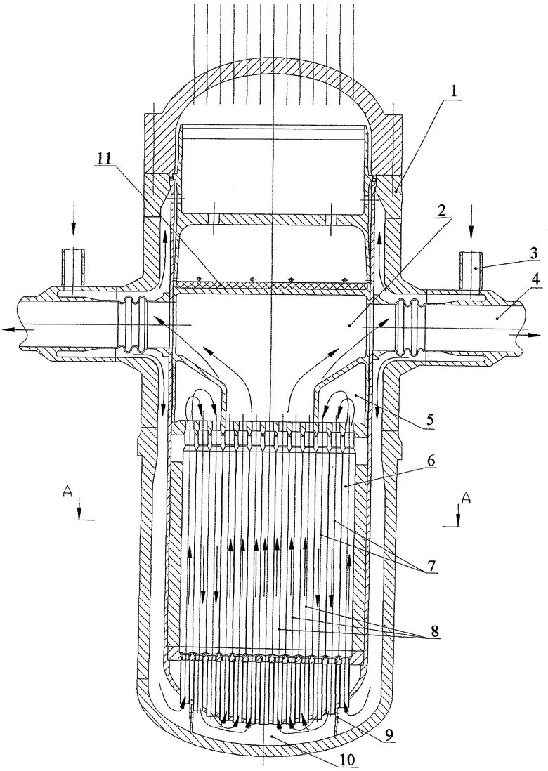
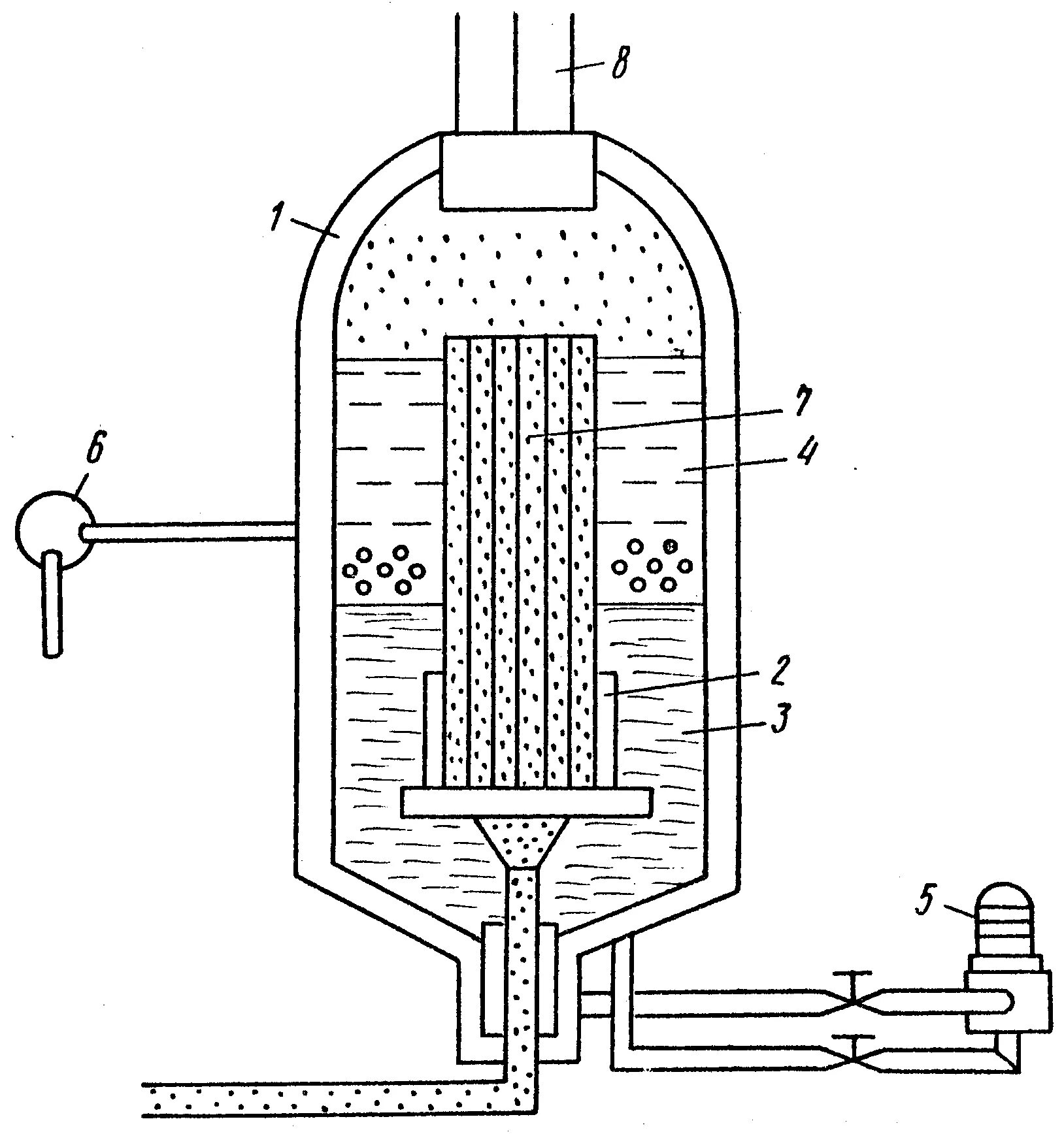
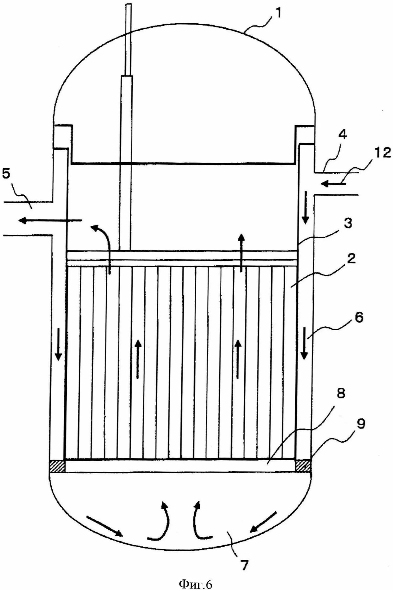
Как охладить реактор