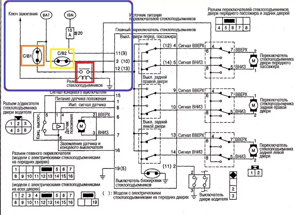
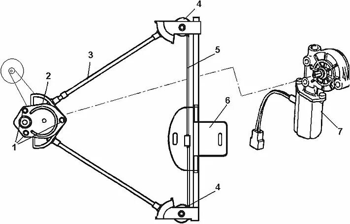
Как обучить стеклоподъемники