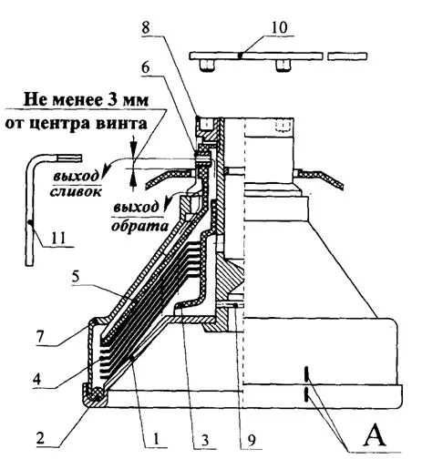
Как настроить сепаратор для сметаны