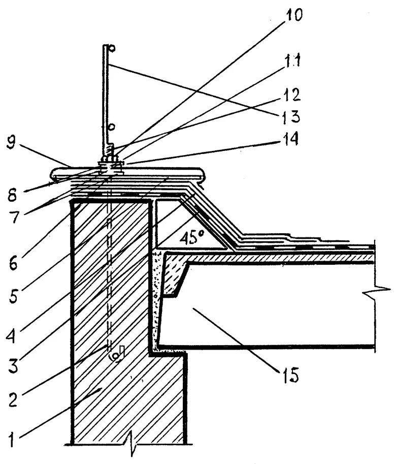
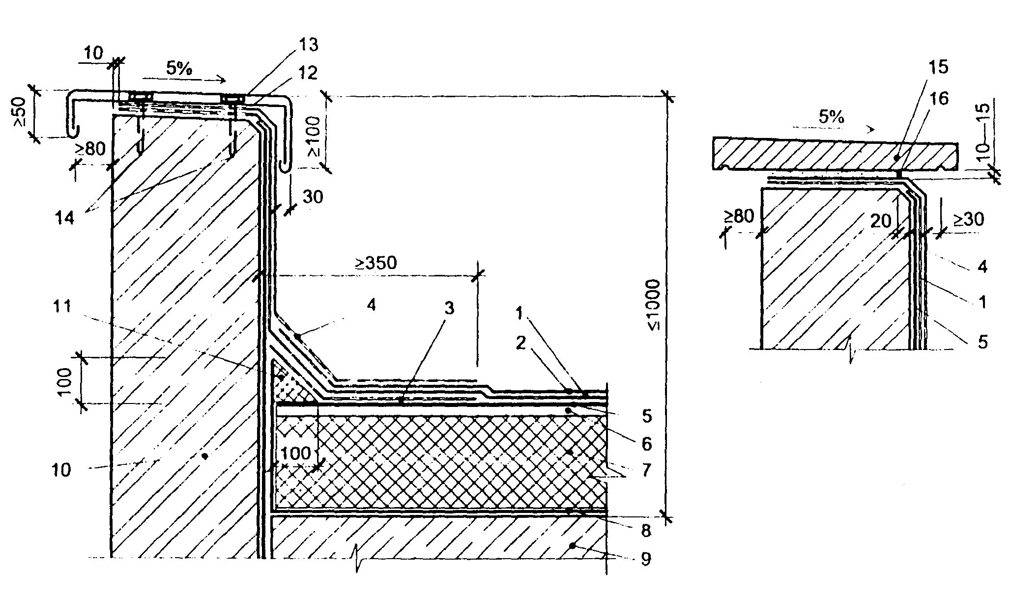
Как крепить парапет