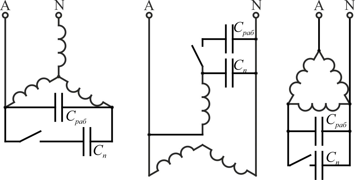
Как изменить направление вращения трехфазного асинхронного двигателя