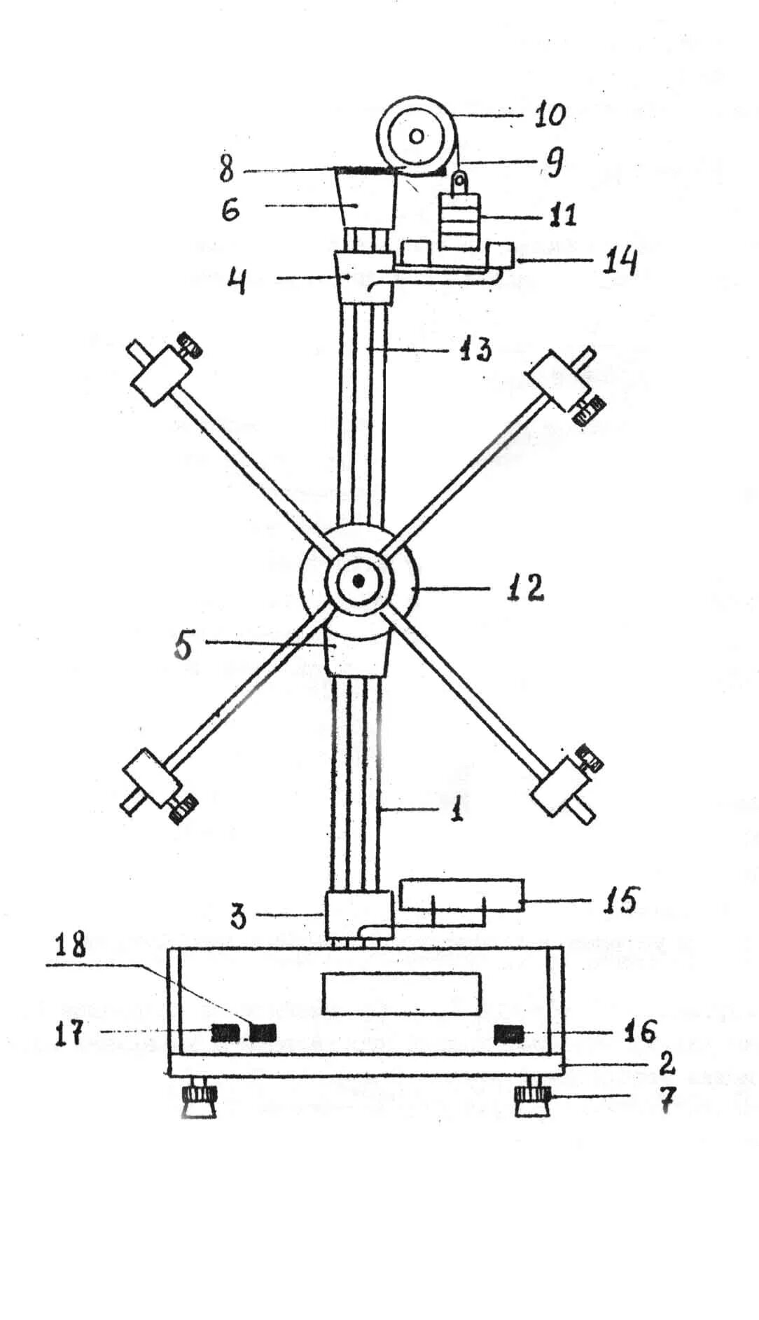
Изучение законов вращательного движения