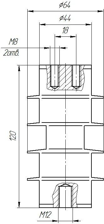
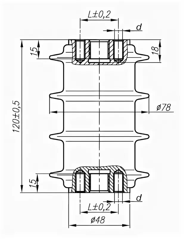
Изолятор оск 4 10